Μπόϊλερ Λεβητοστασίου για αντλίες Θερμότητας (Εμαγιέ - Glass)
Τα Μπόϊλερ λεβητοστασίου για αντλίες θερμότητας είναι παρόμοια με τα κάθετα boiler λεβητοστασίου, με τη διαφορά ότι έχουν σχεδιασθεί για τη βέλτιστη απόδοση με χρήση αντλίας θερμότητας.
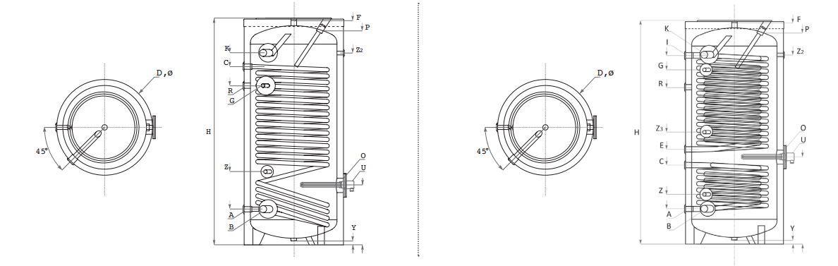
Για τον λόγο αυτό ο εναλλάκτης θερμότητας έχει αυξημένη επιφάνεια και μήκος. Το εσωτερικό δοχείο θωρακίζεται εσωτερικά με διπλή επισμάλτωση (διπλό εμαγιέ), όπως επίσης επισμαλτώνονται και ο εναλλάκτης θερμότητας.
Το θερμομονωτικό υλικό που περικλύει το εσωτερικό δοχείο παρέχει ιδιαίτερα υψηλή θερμομόνωση με αποτέλεσμα να έχουμε αμελητέες θερμικές απώλειες.
Επιπρόσθετα μπορoύν να τοποθετηθούν και ηλεκτρικά στοιχεία. Η οικονομία στην κατανάλωση ενέργειας σε αυτόν τον τύπο είναι αρκετά υψηλή.
Κατάλληλα για εφαρμογή οποιουδήποτε μεγέθους ή απαιτήσεων.
ΤΕΧΝΙΚΕΣ ΠΡΟΔΙΑΓΡΑΦΕΣ ΜΠΟΪΛΕΡ ΛΕΒΗΤΟΣΤΑΣΙΟΥ GLASS ΔΙΠΛΗΣ ΕΝΕΡΓΕΙΑΣ
• Χαλύβδινο θερμοδοχείο μικρής περιεκτικότητας σε άνθρακα, με εσωτερική επισμάλτωση τιτανίου (DIN 4753-3).
• Εναλλάκτης θερμότητας επισμαλτωμένος εξωτερικά, μεγάλης επιφάνειας.
• Αντιδιαβρωτική προστασία με ανόδιο μαγνησίου (DIN 4753-6).
• Θερμομόνωση για ελαχιστοποίηση απωλειών.
• Εισαγωγές τοποθέτησης αισθητήρα θερμοκρασίας.
• Βαλβίδα ασφαλείας 8 bar.
• Θερμοστάτης με ενσωματωμένη θερμική προστασία.
• Φλάντζα επιθεώρησης με εύκολη πρόσβαση. Δυνατότητα τοποθέτησης ηλεκτρικού στοιχείου.
• Εξωτερικό κάλυμμα από PVC σε χρώμα RAL 9006.
• Αναμονή στο άνω μέρος για εξαεριστικό και στο κάτω για αποστράγγιση.
